En la CV29, el bit más bajo es el responsable del cambio de sentido de marcha. De origen viene configurado a 0, pero algún problema sobrevenido puede hacernos cambiar esta opción para que la locomotora cambie el sentido de marcha.
Como todos sabemos, en analógico la locomotora corre con un determinado sentido de marcha según el polo positivo esté a un lado o a otro. En digital la corriente de la vía es alterna, por lo que el cambio más sencillo de sentido se puede hacer en el descodificador, y no cambiando cables como en analógico.
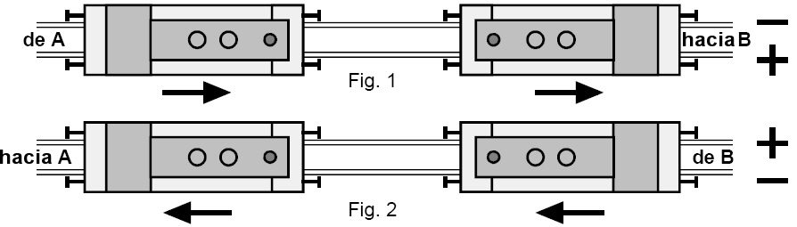
Para poder entender mejor el significado podemos ayudarnos de una locomotora de vapor, en la que se define la parte delantera como la que tiene la chimenea.

Como podemos ver en analógico el sentido de marcha en el carril derecho es positivo en la figura 1 y la locomotora se mueve de A hacia B, independientemente de que la chimenea esté en la parte delantera o no. En la figura dos cuando el polo positivo está en el carril izquierdo en sentido es contrario al anterior, de B hacia A.
Pero en digital el sentido de marcha viene preestablecido de la misma manera, el cable rojo del descodificador al carril derecho según el sentido hacia adelante (en este caso la locomotora superior izquierda o la inferior derecha) y es independiente de la polaridad en la vía.
Entonces sabiendo todo esto, ¿para qué sirve el cambio de sentido en la CV29?
Muy sencillo, sólo para las locomotoras que se comportan al revés que las demás, o sea cuando poniendo la locomotora marcha adelante e indicándole ese sentido, la locomotora reacciona en sentido contrario.
Configuración de la CV29, bit 0
0 = marcha adelante (por defecto)
1 = invertir el sentido de marcha de la locomotora y las luces
Cuando se añade el valor 1 a la CV29, significa que la locomotora se comportará del revés a como lo hacía, si antes circulaba en un sentido y las luces iluminaban en ese sentido, ahora lo hará en el sentido contrario, que será el correcto para nuestros intereses.
Consejo
El cambio de sentido en la CV29 sólo es posible en el caso que tanto motor como luces estén cambiados y se necesite volver a ponerlos en línea con el resto de locomotoras o cambiar el sentido para que el testero adelante sea el correcto con marcha adelante (según los reguladores digitales, flecha arriba o derecha)
Este cambio no implica poder arreglar fallos de cableado, como por ejemplo que las luces estén incorrectas y al ir marcha adelante se enciendan las luces blancas detrás, sólo que el motor gire en el sentido correcto y se desplace en el sentido deseado.
Para cambiar las luces de sentido se puede volver a cablear o, si el descodificador lo permite, asignar F0r para adelante y F0d para atrás, intercambiando así el sentido de iluminación de la locomotora sin cambiar el sentido de marcha del motor.
Hay descodificadores, como por ejemplo los de Doehler & Haass que tienen CV específicas para intercambiar las conexiones de vía, de motor o de luces sin necesidad de tocar un solo cable.
Enlaces
NEM 641 en español: Control digital de los trenes
NEM 650 en español: Interfaz eléctrica para vehículos
Versión para imprimir


